۰۱ دی ۱۴۰۴
به روز شده در: ۰۱ دی ۱۴۰۴ - ۰۰:۲۷
فیلم بیشتر »»
کد خبر ۴۱۲۲۳۲
تاریخ انتشار: ۱۱:۳۳ - ۲۷-۰۵-۱۳۹۴
کد ۴۱۲۲۳۲
انتشار: ۱۱:۳۳ - ۲۷-۰۵-۱۳۹۴

پهپادهایی که تبدیل به زیردریایی می‌شوند

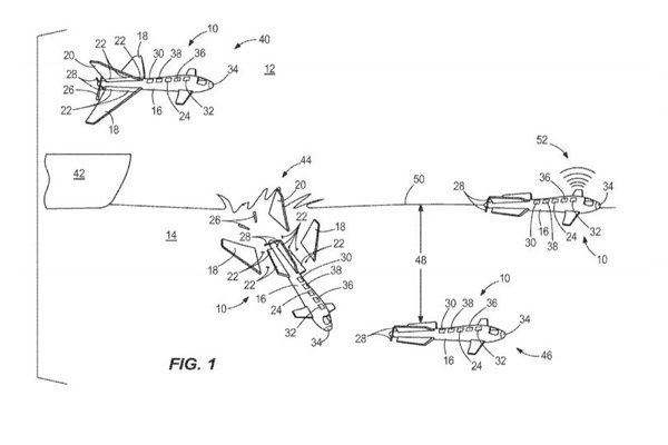
شرکت هواپیمائی بوئینگ از ساخت هواپیمای بدون سرنشینی خبر داده که نه تنها از راه دور می توان آن را کنترل کرد بلکه با یک شیرجه وارد آب شده و به یک زیردریایی مبدل می شود.

شرکت هواپیمائی بوئینگ ساخت هواپیمای بدون سرنشینی را آغاز کرده که تبدیل به زیردریایی می شود.

پهپادهایی که تبدیل به زیردریایی می‌شوند

شرکت بوئینگ پتنت جدیدی را به ثبت رسانده که توجهات بسیاری را به خود جلب کرده است. در سال های اخیر، هواپیماهای بدون سرنشین بیش از پیش به بخش های مختلف زندگی انسان ها نفوذ کرده اند. هواپیماهای بدون سرنشین در اداره های پست، رستوران ها و ... مورد استفاده قرار گرفته اند.

شرکت هواپیمائی بوئینگ از ساخت هواپیمای بدون سرنشینی خبر داده که نه تنها از راه دور می توان آن را کنترل کرد بلکه با یک شیرجه وارد آب شده و به یک زیردریایی مبدل می شود.

این هواپیمای بدون سرنشین به منظور کاهش وزن و همینطور برخورداری از ویژگی های هیدرودینامیکی در هنگام شیرجه و ورود به آب بخش های مختلفی از آن مانند ملخ و بال های هواپیما که با چسب و پیچ به آن متصل شده اند، جدا می شوند تا این هواپیمای بدون سرنشین تبدیل به زیردریایی شود که در آب حرکت می کند.

پهپادهایی که تبدیل به زیردریایی می‌شوند

شرکت بوئینگ در رابطه با چگونگی ساخت این هواپیمای بدون سرنشین و همینطور نیروی محرکه لازم برای حرکت اختراع جدید خود آورده است : « قدرت لازم برای حرکت این پهپاد توسط یک موتور واحد تامین می شود اما هنوز جزئیات بیشتری در این رابطه منتشر نشده است. با استفاده از این زیردریایی می توان محموله های مختلف را به اعماق آب انتقال داد.»

هواپیماهای بدون سرنشین به دلیل کوچک بودن و همینطور بی سر و صدا بودن تبدیل به ابزارهای مناسبی در ماموریت های نظامی شده اند. اما زمانی که ماموریت این زیردریایی به پایان رسید به سطح آب آمده و اطلاعات به دست آورده در طول ماموریت را با یک هواپیمای بدون سرنشین دیگر یا به مرکز فرماندهی منتقل می کند.

شرکت هوایی بوئینگ طرح این اختراع را به ثبت رسانده و این فناوری در مراحل اولیه خود به سر برده و هنوز تبدیل به طرح مفهومی نیز نشده است.

منبع: مهر

پربیننده ترین پست همین یک ساعت اخیر
برچسب ها: بوئینگ ، پهپاد ، زیردریایی
ارسال به دوستان
مجید واشقانی: توبه سید جواد هاشمی امکان ندارد پذیرفته شود خاطره ویشکا آسایش از سیلی زدن به صورت رضا عطاران نگاهی به ۱۰ فرودگاه بزرگ جهان در ۲۰۲۵ با بیش از ۷۰ میلیون مسافر (+تصاویر) قدیمی‌ترین عکس از جشن یلدای ایرانیان محمد اسلامی: تصویر ذهنی مردم و جامعه نخبگانی باید نسبت به سازمان انرژی اتمی ایران تغییر کند محمود عباس: آماده‌ایم با همه نیروهای جامعه اسرائیل همکاری کنیم اعتراض به مصوبات پشت درهای بسته؛ درخواست تشکل‌های تصویری از رئیس‌جمهور برای توقف یک ابلاغ جنجالی سازمان ملل: آتش بسی وجود ندارد / ادامه بمباران غزه از سوی اسرائیل سناتور آمریکایی: احتمال کمی برای خلع سلاح حماس وجود دارد مانور قدرت مراکش در افتتاحیه جام ملت‌های آفریقا؛ رباط آماده میزبانی از جام جهانی شد (+عکس) سقوط شیاطین سرخ در قلعه ویلاپارک؛ استون‌ویلا مچ منچستریونایتد را خواباند بایرن مونیخ دست‌بردار صدر نیست؛ پیروزی ۴ گله شاگردان کمپانی در هفته پانزدهم بوندس‌لیگا برخی مدارس اراک فردا دوشنبه غیرحضوری شد رئیس اتحادیه طلا: بانک مرکزی حسابم را مسدود کرد سرلشکر موسوی: ترور یهودیان عملیات فریب رژیم صهیونی برای القای یهودی ستیزی است
نظرسنجی
طنز «مهران مدیری» را بیشتر دوست دارید یا طنز «رضا عطاران» را؟